Installation guidelines
Installation guidelines
Please select one or more chapters to download.
Table of contents

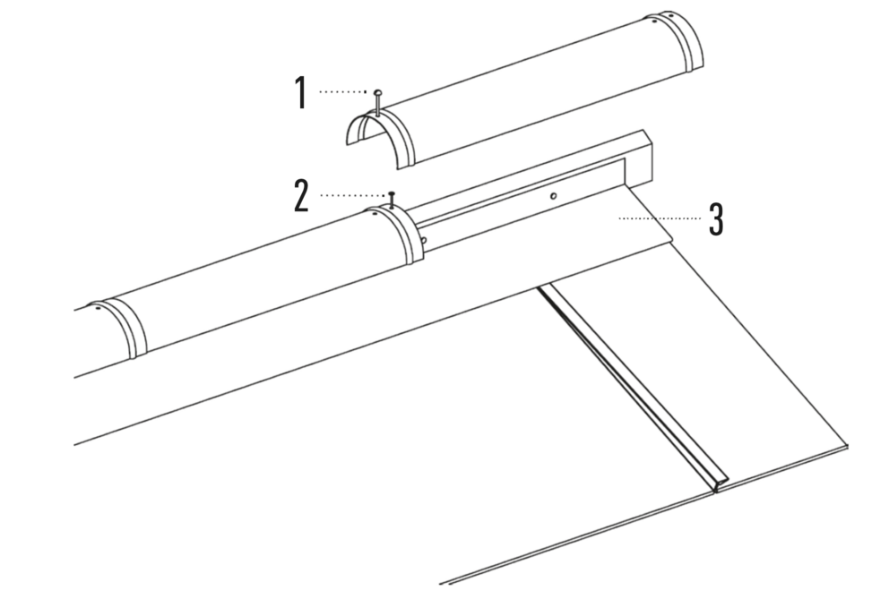
Starter strip for roof tile

Installation of the starter strip

The eaves overhang of the starter strip should be in the rear third of the gutter width and may not exceed 80 mm.
Measure from the planned top of the first roof tile 450 mm towards the eaves (ensure that the eaves overhang is between 30 and 80 mm). Make 150 mm (starter strip width) from below a mark (= starter strip width upper edge).

Repeat the respective process on the second side of the eaves and connect these marks with a horizontal chalk line.

The starter strip is to be nailed storm-proof (nail out all pre-punched holes). Pin the starter strip through before nailing out any pre-punched holes with the supplied PREFA nails.

Note

The more precisely you install the starter strip, the easier it will be for you to professionally lay the PREFA roof system.
Make sure that the starter strip is installed under the separation layer.

Starter strip

Installation of the starter strip

The eaves overhang of the starter strip should be in the rear third of the gutter width and may not exceed 80 mm.
The starter strip is attached in a straight line over the entire length of the eaves with the help of a cord cut off beforehand.
The starter strip is to be nailed storm-proof (nail out all pre-punched holes).
This is followed by the vertical angular impact.
Pin the starter strip through before nailing out any pre-punched holes with the supplied PREFA nails.

Note

The more precisely you install the starter strip, the easier it will be for you to professionally lay the PREFA roof system. Markings (lacing dimensions) are provided as an aid for the respective PREFA roof coverings.

Make sure that the starter strip is installed under the separation layer (see figure above).

Special feature of R.16 roof tile and FX.12 roof panel

Align the starter strip with the embossed markings for R.16 roof tile or FX.12 roof panel to the middle of the roof.
It should be noted that the area for the lateral upstand (e.g. verge formation) is not in the rebate area of the R.16 roof tile or FX.12 roof panel. If necessary, move the starter strip by a quarter of the dimension of an R.16 roof tile or an FX.12 roof panel.

Special feature of rhomboid roof tile 29 × 29 and rhomboid roof tile 44 × 44

Align the starter strip with the embossed markings to the middle of the roof.
It should be noted that the area for the lateral upstand (e.g. verge formation) is not in the centre of the rhomboid roof tiles 29 × 29 or
44 × 44. If necessary, move the starter strip by a quarter of the dimension (1/4 of the vertical lacing dimension) of a rhomboid roof tile 29 × 29 or 44 × 44.

Verge formation and abutment detail

  • Bend the PREFA roof covering upwards 30 mm at a right angle to the roof surface (Fig. 1).
  • Hit the upper edge of the original verge holding strip onto the upper edge of the fascia board and nail the verge holding strip storm-proof (Fig. 2).
  • In areas with a lot of snow, verge formation should be designed as shown in Fig. 3.
  • Use the variant shown in Fig. 4 for a verge design with a raised front board.

Special feature of R.16 roof tile and FX.12 roof panel

Notch the upper patent fold in the area of the raised edge so that a hook fold remains (Fig. 1 and 2), and bend the R.16 roof tile or the FX.12 roof panel upwards 30 mm at a right angle to the roof surface.

Special feature of roof shingle

With each left-hand upstand of the shingle (verge flashing and edging), the folds running diagonally downwards are to be notched in order to avoid any capillary action.

  • Mark the upstand area and 30 mm fold allowance (Fig. 1).
  • Cut shingles with fold allowance (Fig. 2).
  • Make the rebate notch (Fig. 3 and 4).
  • Cover the notched shingle and edge it up (Fig. 5 and 6).

Variantions with shortened shingles or fitted shingles.

Other variants are to place the sloping seams with a shortened roof shingle or with a fitting shingle outside of the upstand area.

Variant 1: Shortened shingle
Shorten and cover the last shingle before edging up (Fig. 7 and 8).

Variant 2: Fitting shingle
Attach fitting shingles, cut with a fold allowance of 30 mm and edge it up (Fig. 8 and 9).

Only a professional installation guarantees a rainproof roof.
After preparing the shingle, the connection flashing (e.g. gable cladding or wall connection cove) can be produced and worked into the covering.

Special feature of DS.19 shingle

With each left-hand upstand of the DS.19 shingle (verge flashing and edging), the folds running diagonally downwards are to be notched in order to avoid any capillary action.

  • Mark the upstand area and 30 mm fold allowance and cut at the fold allowance (Fig. 1).
  • Make the rebate notches (Fig. 2 and 3).
  • Cover notched DS.19 shingle and edge it up (Fig. 4 and 5).

Variant DS.19 fitting shingle

One variant is the sloping seams with a DS.19 fitting shingle outside of the upstand area.

  • Cover DS.19 fitting shingle and mark the diagonally sloping fold at the top of the shingle fold (Fig. 6).
  • Expose the shingle fold in the shape of a crescent around the marking (Fig. 7).
  • Cover and fasten DS.19 fitting shingle (Fig. 8).
  • Fold up roof covering. (Fig. 9 and 10).

Note

The DS.19 fitting shingle is not suitable to cover a entire roof.
CAUTION: Shortening of a DS.19 shingle is not possible due to the capillary beads.

Only a professional installation guarantees a rainproof roof.
After preparing the DS.19 shingle, the joint flashing (e.g. edge cladding or wall connection cove) can be executed and worked into the roof covering.

Special feature of rhomboid roof tile 29 × 29

With each lateral upstand of the rhomboid roof tile 29 × 29 (verge flashing and edging), the folds running diagonally downwards are to be cut out and bent up on the underside.

  • Marking the upstand area and 30 mm fold allowance
  • Cut rhomboid roof tile 29 × 29 at the fold allowance and make the rebate notch (Fig. 1).
  • Bend open the fold and cut round (Fig. 2).
  • Cover the notched rhomboid roof tile 29 × 29 and edge it up (Fig. 3 and 4).

Only a professional installation guarantees a rainproof roof.

After preparing the rhomboid roof tiles 29 × 29, the connection flashing (e.g. gable cladding or wall connection cove) can be executed and worked into the roof covering.

Special feature of rhomboid roof tile 44 × 44

With each lateral upstand of the rhomboid roof tile 44 × 44 (verge flashing and edging), the folds running diagonally downwards are to be cut out and bent up on the underside.

  • Marking the upstand area and 30 mm fold allowance
  • Cut rhomboid roof tile 44 × 44 at the fold allowance and make the rebate notch (Fig. 1).
  • Bend open the fold and cut round (Fig. 2).
  • The sloping patent fold is to be notched at the top in the area of the raised edge (Fig. 3).
  • Cover the notched rhomboid roof tile 44 × 44 and edge it up (Fig. 4).

Only a professional installation guarantees a rainproof roof.
After preparing the rhomboid roof tiles 44 × 44, the connection flashing (e.g. gable cladding or wall connection cove) can be executed and worked into the roof covering.

Valley detail

Variation with safetyvalley

1 Roof tile
2 underlay
3 Clip

4 Valley flashing
5 Valley board

The safety valley is a recommendation of the PREFA company.
In general the installer decides the use of a safety valley based upon his skills and experience. Compared to common valley flashings, the safetyvalley offers increased safety with regard to backwater in the sensitivevalley area.


Advantages of the safety valley:

  • Backflow-proof due to the additional fold
  • Prefabricated PREFA product
  • Additional folds in the overlapping area
  • Capillary beads in the overlapping area
  • Better accessibility, increased stability

Variant with handcrafted flashing

1 Roof tile
2 underlay
3 Clip

4 Valley flashing
5 Valley board

  • Fabricate the valley up to a maximum length of 3,000 mm.
  • The lateral water fold is to be bent 40 mm wide on both sides.
  • The cutting width depends on the shape of the roof, the roof pitch and the circumstances and should not be less than 500 mm.
  • In cases of very different roof pitches or if the amount of water varies greatly, the valley has to be recessed orhas to be joint with a doble lock standing seam in the middle.

Valley joint

  • At the valley joint, the PREFA roofing to be covered is marked with approx. 35 mm and trimmed (Fig. 1 and 2).
  • The marked flat lock welt is folded over (Fig. 3).
  • The prepared PREFA roof cover is ready to be installed (Fig. 4).

Specifics with roof tile

The covering direction should always be selected in the direction of thevalley. As a result, if snow and ice slides off in this area, the overlap groove is prevented from bending up.

  • Align the panel and score the inside edge for the valley fold and trim the panel with approx. 35 mm allowance (Fig. 1).
  • Flatten the bead slightly and bend inwards by 180°. Then insert panel and fasten using clips (Fig. 2 and 3).
  • Since the unfolding of the tile was stretched at the bending edge, the groove in the covered state is easiest to return to its original shape with a beveled hammer handle. This prevents the panel from warping (Fig. 4).

Special features of shingle and DS.19 shingle

Note

For shingles and DS.19 shingles, the intersection point on the left hand side of the valley must be avoided.

Roof shingle

If the intersection point coincides with the valley on the left-hand side, a shortened shingle (1) or fitting shingle (1) must be assembled and installed.

DS.19 shingle

In the case of DS.19 shingles, if the collar/shingle joint intersection coincides with the valley on the left-hand side, a DS.19 fitting shingle (1) must be laid beforehand.
Shortening of a DS.19 shingle is not possible due to the capillary beads.

Special feature of R.16 roof tile and FX.12 roof panel

  • If the intersection of the collar and the plate joint coincides, a fitting tile must be assembled and installed (Fig. 1).
    Note: With handcrafted flashings, the intersection point must be definitely avoided.
  • To avoid the intersection, manufacture a fitting tile from an entire R.16 roof tile or FX.12 roof panel (Fig. 2 + 3).
    CAUTION: Choose the size of the fitting part so that the installation of the snow guards is not impaired. The exact design is clearly visible on the aligned snow guards.

Note

When using the safety valley, the valley joint can also be designed in such a way that the valley/panel joint intersection point coincides.

Hip and ridge detail

Depending on roof structure and functionally, there are various options.

Ridge vent

The ridge ventcan be used for roof pitches of 12-55°.
The original PREFA ridge vent has an apron on both sides. Nevertheless, raise the roof covering 40 mm to achieve a rainproof connection.
Fasten the last (cut, if required) row of tiles with a return clip, by means of a direct fastening to the side of the bead of the underlying bead (with PREFA roof panels) or by means of a direct fastening above the foam wedge of the jet fan.

Installation

  • The orientation of the last row should be done so that there is an air gap of 80 mm. Set up the PREFA roof elements approx. 40 mm vertically (Fig. 1).
  • Observe expansion joints of approx. 5 mm between each individual jet fan, and then peel off the adhesive protection film of the sealing wedge approx. 50 mm and bend outwards (Fig. 2).
  • Set up both connecting sleeves in the middle and fasten each with a Ø 4.1 mm PREFA rivet as a fixed point (Fig. 3).
  • Glue the sealing wedge with the already removed sealing surface under the connecting sleeves. Then remove the adhesive protection film (Fig. 4).
  • Fasten ridge vent with PREFA sealing screws (60 mm long) at a distance of approx. 600 mm (Fig. 5).
    Comment:
    — In the case of roof tiles, always place the sealing screw on the crest of the bead.
    — In the case of shingles and rhomboid tiles, do not position clips on the sloping flat lock welt.
    — In the case of FX.12 and R.16, do not attach any clips to the angled standing seam.
  • Suggestion for installing the ridge vent end cap (Fig. 6).
    Tip: First mount the cover plate in the edge area and set up 30 mm for gable strip, then attach gable strip.
  • Adjust the ridge vent end cap and fasten it with a rivet (Fig. 7).
  • Example: Hip/ridge waste (Fig. 8).

Note

Make sure that the foam wedge is attached to the entire length of the roof covering.

Note

When arranging openings on the ridge side in single-shell roof structures, the penetration of drifting snow cannot be completely ruled out.

Gable Dormer

The connection from the PREFA jet fan to the collar must be sealed with an end and carried out in such a way that no rainwater from the main roof area gets into the jet fan.

Hip and ridge detail with hip and ridge strips

To ensure that the roof is protected against drifting snow, it is absolutely necessary to raise the PREFA roof covering in the notch and ridge areas at least 40 mm.
If the last row of panels is very short, a continuous chest plate can also be made with band plate.

Tip: Chalk a line in the middle of the ridge batten to keep the exact line.

Note

Cut the ridgecap exactly in the shape of the beads or folds.

1 sealing screw

2 Nail

1 sealing screw
2 Nail

3 Apron flashing

Example of hip/ridge detail

  • Cut the upcoming ridge caps according to required shape, allowing an overlap of 10 mm at the hip side, and fix both parts with screws (Fig. 1).
  • Then cut half a ridge cap so that it covers the cut of the two lower ridgecaps. To make it easier to adjust the top cap, drag the outer section of the cut as shown in the photo (Fig. 2).
  • After attaching the ridge cap made in this way to the ridge batten, you can continue with the conventional ridge caps (Fig. 3).

Specifics with roof tile

If a continuous apron flashing is fitted to the roof tile, then the top fold is to be aligned in such a way that it is possible to install a straight apron flashing.

  • Cut the fold of the bead high point and lift the fold with the seaming iron (Fig. 1 and 2).
  • Use the hammer to flatten the bead to allow a ccontinious seam. It is not necessary to cut into the panel joint (Fig. 3).
  • Now the apron flashing can be hooked in without any problems (Fig. 4).

Special feature of rhomboid roof tile 29 × 29 and rhomboid roof tile 44 × 44

If a continuous apron flashing is fitted for rhomboid roof tiles 29 × 29 or 44 × 44, then end plates are to be used for the rhomboid roof tiles 29 × 29 or 44 × 44. These enable a horizontal flat lock welt.

The supplied cover flashings (1) must be fitted between the end plates for rhomboid roof tile 29 × 29.

Simple ridge detail with flat lock welt

After trimming the PREFA roof covering, create a flat lock welt.

Special feature of roof tiles

After trimming the roof panel, the centre groove is finished with an inverted fold to create a flat lock welt. the dogear could be done with a long nose plier as well as with a beading machine.

Ridgedetail with simple ridge cap

A simple ridge cap can be used if the distance between the PREFA roof covering and the ridge point is less than 150 mm, and no ventilation is required.

Construction of roof offset

Roof tile

The construction is carried out with two starter strips.

1. Starter strip for roof tile

2. Starter strip (grooved)

  • Fit the first starter strip (1,806 × 150 mm) as usual.
  • Installthe second starter strip (beaded starter strip) over the first row of panels at the level of the fold of the main roof. Depending on the construction site, insert a sealing tape to create a gap for the flat lock welt of the roof tile above (Fig. 1).
  • The following row of roof tiles can then be installed over the entire width (Fig. 2).

R.16 roof tile and FX.12 roof panel

  • Mark 30 mm overhang and cut R.16 roof tile/FX.12 roof panel (Fig. 1).
  • Cut in the upper fold approx. 200 mm and notch it (Fig. 2).
  • The upper flat lock welt is turned up (Fig. 3).
  • Edge up the allowance of 30 mm and fold in the gable strip (Fig. 4).
  • Mark the R.16 roof tiles/FX.12 roof panels to be shortened and cut them at the roof offset (Fig. 5).
  • Install prepared R.16 roof tile/FX.12 roof panel (Fig. 6).
  • Both R.16 roof tiles and FX.12 roof panels are folded together, and the fold is turned over in the hanging area (Fig. 7).
  • Bend back the hanging area again, and fasten it with patent clips (Fig. 8).
  • The following row of R.16 roof tiles/FX.12 roof panels can then be installed over the entire width (Fig. 9).

Shingle and DS.19 shingle

  • If the roof offset has a first row of shortened shingles, the shingles/DS.19 shingle must be shortened (Fig. 1).
  • The following row of shingles can then be installed over the entire width (Fig. 2).
  • Completely covered roof section (Fig. 3).

Rhomboid roof tile 29 × 29 and rhomboid roof tile 44 × 44

In most cases, with roof sections with rhomboid roof tiles 29 × 29 or 44 × 44, an eaves plate must be manufactured. This means that you can easily start with a rhomboid roof tile 29 × 29 or 44 × 44 (Fig. 1A and 1B).

Variant A: Horizontal fold

The following row of rhomboid roof tiles can then be installed over the entire width (Fig. 2A and 2B).

Variant B: Vertical fold

Completely covered roof offset (Fig. 3A and 3B).

Connection to an edge gutter (on-roof gutter)

Edge 1,806 × 150 mm starter strip according to the following figure (2 folds).